| CPC B60W 60/0051 (2020.02) [B60W 10/04 (2013.01); B60W 10/20 (2013.01); B60W 40/08 (2013.01); B60W 60/0016 (2020.02); B60W 60/0059 (2020.02); B60W 2420/403 (2013.01); B60W 2540/229 (2020.02)] | 20 Claims |

|
1. A system for driver dazzle detection for a vehicle, comprising:
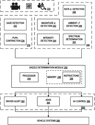
a plurality of sensors to gather data regarding driver characteristics and light source characteristics in an environment of the vehicle;
one or more processors coupled to receive data from the plurality of sensors; and
a non-transitory memory coupled to the one or more processors to store instructions, which when executed by at least one of the one or more processors, cause the one or more processors to perform operations, the operations comprising:
evaluating sensor data from the plurality of sensors received at the one or more processors to determine both a driver characteristic and a light source characteristic, wherein the light source characteristic comprises the brightness of light causing a dazzle event;
evaluating an amount of ambient light present at the dazzle event and the spectrum of the light causing the dazzle event;
determining a level of dazzling of a driver of the vehicle based on the determined driver characteristic, the light source characteristic, the amount of ambient light present at the dazzle event, and the spectrum of the light causing the dazzle event; and
engaging remedial action based on the determined level of dazzle of the driver of the vehicle, wherein the remedial action comprises switching a control of the vehicle from a manual drive mode to a fully autonomous drive mode when it is detected that the determined level of dazzling is above a determined dazzling threshold.
|