| CPC B29C 45/14008 (2013.01) [B29C 45/03 (2013.01); B29C 45/1418 (2013.01); B29C 45/1756 (2013.01); B29C 45/40 (2013.01); B29C 45/47 (2013.01); B29C 45/64 (2013.01); B29C 45/72 (2013.01); B29C 45/76 (2013.01); B29C 2945/76167 (2013.01); B29C 2945/76294 (2013.01); B29K 2705/00 (2013.01)] | 11 Claims |

|
1. An injection molding system comprising:
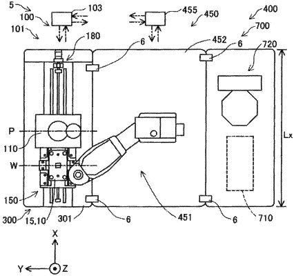
a main unit that accommodates a first injection molding machine that molds an integrated product by injecting a first molding material into a cavity which is defined by a lower die and an upper die and in which an insert member is disposed, the main unit having a first enclosure housing the main unit and a first base at which the first injection molding machine is located, the first base being rectangular-shaped and extending in first and second directions perpendicular to each other in a plan view; and
an optional unit having a second enclosure housing the optional unit and a second base at which an inner machine is located, the second base being rectangular-shaped and extending in the first and second directions in the plan view,
wherein the optional unit includes at least one of:
a member molding unit that accommodates a second injection molding machine, as the inner machine, that molds the insert member by injecting a second molding material or a press molding machine, as the inner machine, that molds the insert member in press molding; and
a robot unit that accommodates a robot, as the inner machine, that performs placement operation of placing the insert member in the cavity or transport operation of transporting the integrated product molded by the first injection molding machine,
the main unit is so configured that the optional unit is attachable thereto and detachable therefrom by a bolt,
a first length in the first direction of the main unit and a second length in the first direction of the optional unit are the same, and
a first height of the main unit and a second height of the optional unit are the same.
|