| CPC A45D 34/042 (2013.01) [A45D 29/00 (2013.01); A46B 9/021 (2013.01); A46B 11/0055 (2013.01); B65D 83/771 (2025.01); A45D 2200/051 (2013.01); A45D 2200/055 (2013.01); A45D 2200/058 (2013.01); A45D 2200/25 (2013.01); A46B 11/0075 (2013.01); A46B 2200/1046 (2013.01)] | 18 Claims |

|
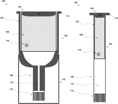
1. A capsule integrated with a nail polish applying element adapted to be used by a nail polish application apparatus, the capsule comprising:
a body portion defining a reservoir containing nail polish fluid; and
the nail polish applying element fixated to a bottom face of the body portion, the nail polish applying element includes at least one solid pipe having an internal dispensing tunnel adapted to convey the nail polish fluid from the body portion and dispense the nail polish fluid on a nail surface;
wherein the nail polish fluid is released from the internal dispensing tunnel for application on the nail surface by the at least one solid pipe as result of an increased internal pressure adapted to be built in the reservoir when pressure is applied on the body portion by a pressure applying element of the nail polish application apparatus;
wherein the body portion comprises at least one high elasticity face having an elasticity coefficient that is higher than an elasticity coefficient of at least one other face of the body portion, wherein the nail polish fluid is released from the at least one solid pipe as result of an increased internal pressure built in the reservoir when the at least one high elasticity is adapted to be deformed under pressure induced by the pressure applying element thus reducing a volume of the reservoir.
|