| CPC A24F 40/46 (2020.01) [A24F 40/20 (2020.01); H05B 3/42 (2013.01)] | 12 Claims |

|
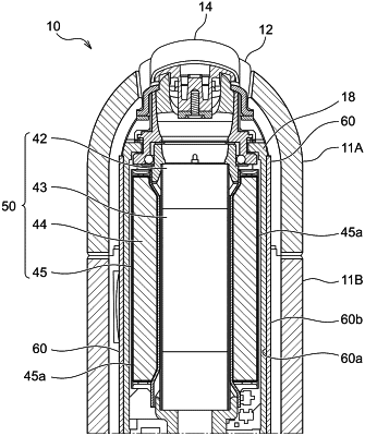
1. A housing comprising:
a first housing that encloses a heat generating element; and
a heat diffusion member provided in at least a part of space between the heat generating element and the first housing;
wherein the heat diffusion member extends longer than the region where the heat generating element exists in a direction orthogonal to the longitudinal direction of the heat generating element.
|