| CPC B31F 1/07 (2013.01) [B31F 2201/0743 (2013.01); B31F 2201/0761 (2013.01); B31F 2201/0784 (2013.01)] | 18 Claims |

|
1. A method for embossing a barrier paper including paper and a protective layer on at least one of its sides, the method comprising:
providing a first embossing system with a first embossing tool and a second embossing tool cooperating with the first embossing tool to emboss the barrier paper;
providing a patrix structure on the first embossing tool;
providing a matrix structure on the second embossing tool, the matrix structure corresponding to the patrix structure such that when embossing the barrier paper, a functionality of the protective layer is preserved; and
embossing the barrier paper by inserting the barrier paper between the first and the second embossing tools, applying pressure between the patrix and the matrix structures to press the patrix structure on a paper side which is a side of the barrier paper opposite to the side with the protective layer of the barrier paper, and pushing the barrier paper in the matrix structure, whereby the protective layer faces the matrix structure, thereby modifying a fiber structure of the paper in the barrier paper by at least one of the following effects: breaking of paper fibers, compressing of the paper fibers, and densifying of the paper fibers, resulting in a modified folding behavior of the barrier paper and in maintaining a substantially unchanged shape of the barrier paper over its lifetime,
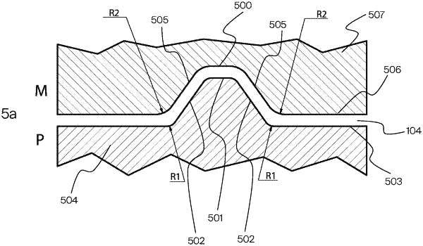
wherein the patrix structure and the matrix structure are configured such that a first junction between a lateral side of the patrix structure and a first base surface of the first embossing tool from which the patrix structure protrudes is substantially a first circular arc having a first radius R1, and a second junction between a lateral side of the matrix structure and a second base surface of the second embossing tool in which the matrix structure is made is substantially a second circular arc having a second radius R2, whereby R2>R1.
|