| CPC C12M 23/04 (2013.01) [C12M 21/08 (2013.01); C12M 23/44 (2013.01); C12M 23/58 (2013.01); C12M 37/04 (2013.01)] | 8 Claims |

|
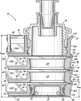
1. A cell culturing device, comprising:
a plurality of trays that are stacked on top of each other, each of the plurality of trays having a floor and an encircling sidewall upstanding from the floor, each floor having an upwardly facing cell growth surface and an opposing bottom surface, the plurality of trays comprising a top tray, a bottom tray and one or more intermediate trays disposed between the top tray and the bottom tray;
the bottom tray and the one or more intermediate trays each having a first venting port extending upwardly from the floor thereof, each first venting port venting port comprising a venting port wall bounding a channel passing through the floor of the corresponding tray and being in fluid communication with at least one immediately adjacent tray; and
a liquid cell culture medium disposed within the space of the bottom tray and each of the one or more intermediate trays,
wherein the floor, the encircling sidewall, and the venting port wall of each of the plurality of trays bounds a space configured to hold a liquid cell culture medium,
wherein the channel of the bottom tray is openly exposed so that a gas can flow from the space of the bottom tray through the channel of the bottom tray,
wherein each of the plurality of stacked trays are connected together by a tongue-in-groove joint, each of the tongue-in-groove joints comprising a tongue and a respective groove,
wherein the tongue resides within the respective groove so as to define a space between the tongue and the respective groove.
|