| CPC B66B 5/0018 (2013.01) [B66B 1/3492 (2013.01); B66B 7/046 (2013.01); G01P 3/44 (2013.01)] | 15 Claims |

|
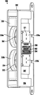
1. A roller speed sensor for detecting a speed of an elevator car of an elevator system, the roller speed sensor comprising:
a first roller configured to rotate along a guide rail of the elevator system when the elevator car moves up or down an elevator shaft, the first roller comprising:
one or more magnets; and
a first sensor pair located proximate the first roller, the first sensor pair being configured to detect a rotational speed of the one or more magnets;
a base plate comprising a first side, a second side opposite the first side, a first end and a second end opposite the first end;
a first housing located on the first side proximate the first end; and
a second housing located on the first side proximate the second end, the first housing and the second housing being separated by a gap,
wherein the guide rail is configured to fit within the gap;
a roller carriage, wherein the first roller is attached to the base plate or the first housing via the roller carriage;
a biasing mechanism, wherein the roller carriage is attached to the base plate or the first housing via the biasing mechanism.
|