| CPC H04L 61/5076 (2022.05) [H04L 61/5007 (2022.05); H04L 61/5061 (2022.05)] | 20 Claims |

|
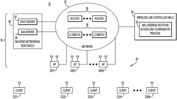
1. A method performed for a wireless network that includes a plurality of wireless client devices configured to rotate a media access control (MAC) address used for wireless communication with one or more wireless access point devices in the wireless network, the method comprising:
determining an impact of MAC address rotations by the plurality of wireless client devices on operational resources of one or more networking devices or networking processes in a network infrastructure associated with the wireless network,
wherein determining the impact comprises observing the MAC address rotations of the plurality of wireless client devices over time to learn MAC address rotation patterns of the plurality of wireless client devices and computing an aggregate MAC address rotation cost for each of the one or more networking devices or the networking processes across the plurality of wireless client devices as a result of the MAC address rotations by the plurality of wireless client devices; and
scheduling batches of wireless client devices in a group of wireless client devices to perform the MAC address rotations at a different time than when all wireless client devices in the group are expected to perform the MAC address rotations according to the impact on operational resources of the one or more networking devices or the networking processes in the network infrastructure.
|