| CPC G06F 3/0481 (2013.01) [G06F 8/65 (2013.01); G06F 8/71 (2013.01)] | 9 Claims |

|
1. An electronic device comprising:
a display;
an operation section configured to receive an operation;
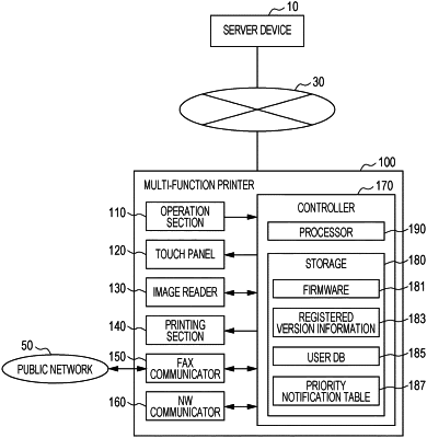
a communicator configured to communicate with a server device;
a storage storing firmware; and
a controller configured to, after receipt of update information providing a notification of an update to the firmware from the server device, cause first update guidance providing a notification of the update to the firmware to be displayed on a first screen when the first screen is displayed on the display, the first screen being displayed if a time period during which no operation is received by the operation section is greater than a predetermined time period, wherein
the first screen is a home screen that includes an update guidance icon, causing the first update guidance, and at least one of copy button, facsimile button, image scan button and print button, and
the update guidance icon is erased from the home screen based on an installation of the firmware in the electronic device.
|