| CPC H04N 23/683 (2023.01) [G06T 5/20 (2013.01); G06T 7/70 (2017.01); H04N 23/617 (2023.01); H04N 23/6811 (2023.01); H04N 23/6812 (2023.01); H04N 23/6815 (2023.01); G06T 2207/30244 (2013.01)] | 30 Claims |

|
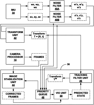
1. A device for image processing, the device comprising:
a memory; and
one or more processors coupled to the memory, the one or more processors configured to:
receive a first set of information, the first set of information being indicative of angular velocity and movement of the device based on a change in position of the device across a current frame captured by the device and a subsequent frame captured by the device;
filter the first set of information to compensate for unintentional movement of the device to generate a second set of information, the second set of information being indicative of angular velocity and movement of the device without unintentional movement;
perform image stabilization on the current frame based on both the first set of information and the second set of information to generate an image stabilized current frame; and
output, for display, the image stabilized current frame.
|