| CPC F16L 21/005 (2013.01) [A61F 7/0085 (2013.01); F16K 15/1471 (2021.08)] | 24 Claims |

|
1. A sealing member for providing a seal between fluid connectors, comprising:
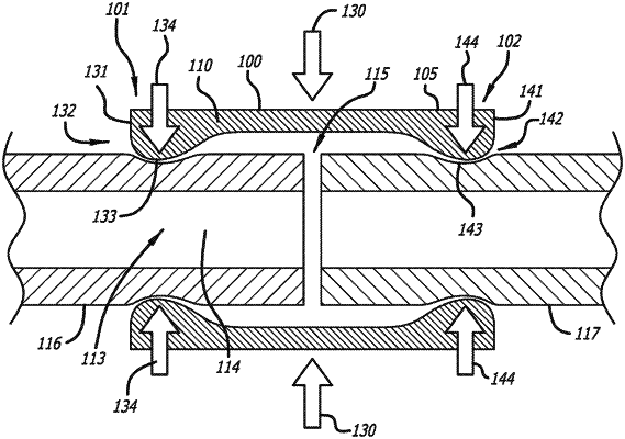
a tubular member defining a lumen extending between a first end and a second end, the tubular member configured to receive a first connector via the first end and a second connector via the second end, the tubular member comprising an annular wall defining:
a first annular portion adjacent the first end, the first annular portion configured to engage the first connector;
a second annular portion adjacent the second end, the second annular portion configured to engage the second connector; and
an annular chamber extending between the first annular portion and the second annular portion, the annular chamber configured to receive the first connector and the second connector therein;
wherein during use:
the first connector and the second connector extend into the annular chamber such that the annular chamber defines an annular space between the annular wall and each of the first connector and the second connector,
the annular chamber adjacent the first annular portion is in fluid communication with the annular chamber adjacent the second annular portion, and
when a pressure within the lumen is negative, atmospheric pressure acting on the annular wall compresses the tubular member to define at least a contact force between the second annular portion and the second connector sufficient to define a fluid seal between the tubular member and the second connector.
|