| CPC H04L 9/3213 (2013.01) [G06F 21/45 (2013.01); G06K 19/06037 (2013.01); H04L 2209/60 (2013.01)] | 20 Claims |

|
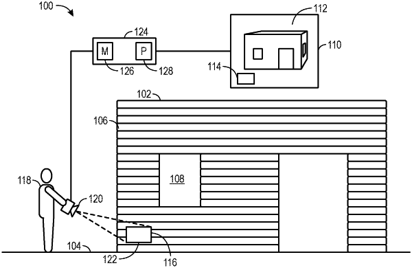
1. A structure authentication system comprising:
a sensor configured to sense identifying features of a three-dimensional (3D) printed structure and generate identifying feature data based on the identifying features; and
a processor device configured to:
receive, from the sensor, the identifying feature data;
analyze the identifying feature data along with a non-fungible token (NFT) database that correlates a plurality of NFTs to a plurality of identifying feature data to determine whether the 3D printed structure is associated with an NFT within the NFT database;
query a blockchain to determine whether the NFT is authentically associated with the 3D printed structure, wherein the authenticated printed structure composed of different materials and the authentication is at least based on properly licensed structures; and
in response to determining that the NFT is authentically associated with the 3D printed structure, send a notification to a user device indicating that the 3D printed structure is authentic.
|